
Полная версия:
Игорь Викторович Антонов Большая книга дачного мастера
- + Увеличить шрифт
- - Уменьшить шрифт
Если полы с низкой проходимостью, то вся тяжесть нагрузки падает на лаги, а теплоизоляция таких функций не несет. Здесь на ней можно сэкономить: подойдет материал из стекловолокна, самый обычный пенопласт, эковата, пенополиуретан либо всевозможные утепляющие насыпные материалы, такие, как керамзит – пористый заполнитель, который получают вследствие грануляции глинистых горных пород с последующим вспучиванием в процессе обжига. Он обладает достаточными теплоизоляционными характеристиками. Можно заменить его гранулированным шлаком, получаемым путем быстрого охлаждения металлургического шлака. Этот материал прочный и легкий, хорошо сохраняет тепло.
Этапы работы
Когда перекрытие состоит из сборных железобетонных плит, его нужно обязательно утеплить, вне зависимости от того, подвальное оно или чердачное. Сначала зачеканить (заполнить) швы в местах соединений, а также все неровности плит перекрытия, поскольку при укладке их выравнивали лишь в области нижней поверхности, выполняющей роль потолка. Эти работы производят цементно-песчаным раствором. После выравнивания поверхности на нее укладывают пароизоляционную пленку слоями внахлест, проклеивая специально предназначенной для этой цели лентой. Следующий слой – утеплитель. Требуемую толщину можно вычислить посредством теплотехнического расчета. Следует отметить, что устройство пароизоляции оправдано только при использовании минеральных утеплителей. Полимерный утеплитель, например экструзионный пенополистирол, не требует паро– и гидроизоляции. Он обладает закрытой ячеистой структурой и поэтому не боится влаги.
Использование плинтуса помогает утеплить стыки между полом и наружной стеной. Поэтому, думая об утеплении первого этажа, надо обратить внимание на увеличение теплозащитных свойств плинтуса, например, установив его на слой мягкого утеплителя. Можно также увеличить величину самого плинтуса.
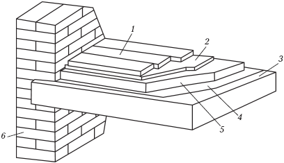
Если выбранные теплоизоляционные плиты не подходят по толщине, их укладывают в два слоя с разбежкой. Сверху на теплоизоляции устраивают цементно-песчаную стяжку, которую армируют металлической сеткой с ячейками 10 × 10 см. Затем ее при помощи нивелировочной массы выравнивают. Когда в помещении предусматриваются мокрые процессы, поверх стяжки наносят гидроизолирующий слой. Если нет, то он не требуется (рис. 59). На заключительном этапе к получившемуся основанию, если это не чердачное перекрытие, приклеивают выбранное покрытие для пола: ковролин, линолеум, паркет, керамическую плитку.

Рис. 59. Схема утепления перекрытия по железобетонным плитам: 1 – чистовой пол; 2 – выравнивающая стяжка; 3 – железобетонное перекрытие; 4 – пароизоляция; 5 – утеплитель; 6 – несущая стена
Межэтажные деревянные перекрытия
Обычно межэтажным перекрытиям утепление не требуется, потому что между ними находятся помещения, в которых поддерживается одинаковый температурный режим. Но при желании улучшить звукоизоляцию, надо проложить утепляющие материалы, которые обладают и звукопоглощающими свойствами. К тому же межэтажные перекрытия не должны пропускать тепло наружу, но это происходит там, где перекрытия опираются о стены, потому что в данных местах они обладают меньшей толщиной.
Балки межэтажных перекрытий одновременно выполняют роль несущих элементов для потолка, относящегося к нижнему этажу, и лаг для пола верхнего этажа. Иногда поверх балок производят дополнительную укладку лаг с шагом 600 – 800 мм, затем на них делают черновой, а потом чистовой пол. Материалы для теплоизоляции прокладывают в один или несколько слоев между балками. Со стороны этажа, находящегося снизу, утеплитель защищают от влаги посредством прокладки пароизоляционного материала, прикрепляя его к деревянному настилу. Потолок на нижнем этаже обшивают досками или отделывают плитами из гипсокартона.
Чердачные деревянные перекрытия
Чердачные перекрытия утеплять необходимо, поскольку через чердак уходит приблизительно 15 % тепла. Это легко объяснить тем, что они отделяют нежилое подкровельное пространство от жилого. Качественно выполненная теплоизоляция перекрытий чердака не позволит потолку становиться холодным. Если крыша здания неутепленная, требуется провести теплоизоляцию подкровельного пространства чердачных перекрытий.
Выбор теплоизоляционного материала
Для утепления чердачных перекрытий подходят базальтовые или стекловолоконные плиты, а также материалы, одна сторона которых покрыта фольгой. Эту сторону при укладке нужно класть к отапливаемому помещению. Фольга выполняет пароизоляционную функцию и хорошо отражает тепло, значительно снижая теплопотери.
Этапы работы
Теплоизоляционный материал укладывают на накат, сделанный из досок между балками перекрытия. Для предотвращения намокания материала его защищают посредством гидроизоляции (рис. 60).

Рис. 60. Схема утепления перекрытий по деревянным балкам: 1 – гидроизоляция; 2 – утеплитель; 3 – балки перекрытия; 4 – пароизоляция; 5 – обрешетка; 6 – ходовой настил; 7 – внутренняя отделка
Следующий слой представлен сплошным ходовым настилом, выполненным из доски толщиной 30 – 40 мм либо ОЗВ-плит. Так как водяные пары из жилых помещений попадают на чердак именно через чердачные перекрытия, утеплитель со стороны отапливаемого помещения защищают от влаги паронепроницаемым материалом. Его крепят к доскам настила при помощи строительного степлера. После этого выполняют потолок: обшивают досками или отделывают гипсокартонными плитами. Если используют фольгированный утеплитель, устройство пароизоляции не требуется.
Утепление полов и перекрытий в каркасных домах
В каркасных домах необходимо утеплить полы над вентилируемым подвалом, а также перекрытия над другими жилыми помещениями.
Выбор теплоизоляционного материала
Благодаря конструкции пола, можно воспользоваться достаточно дешевыми теплоизоляционными материалами: приобрести плиты и маты, выполненные из минеральной ваты, которая бывает каменной (базальтовой), стеклянной, шлаковой, керамической и т. д. Самая популярная вата – стеклянная и каменная. Каменная характеризуется высокой огнестойкостью. Если же пожар все-таки произойдет, минеральные волокна практически не будут дымить, вата под действием высокой температуры не растечется. Вследствие волокнистой структуры, вата характеризуется низкой теплопроводностью и хорошей звукоизоляцией. Также она обладает высокой паропроницаемостью: пар свободно проходит между волокнами материала, но не впитывается. Для того чтобы он смог выйти наружу, а не накапливался внутри плиты или мата, необходимо обеспечить вентиляцию. Теплоизоляция, выполненная из минеральной ваты, устойчива к появлению грибков и плесени, ее не разрушают насекомые.
Эффект теплоизоляции обычно на 95 % зависит не от вида выбранного материала, а от качества проведенных работ, включая тщательную укладку плит утеплителя. Ведь даже самые дорогие материалы не спасут в случае халатно выполненной работы.
Этапы работы
Первый этап заключается в подшивании к нижней части лаг брусков из дерева, после чего расстилают сетку из пластика или проволоки с шагом точек крепления 300 мм на каркасе перекрытия. Затем плотно вставляют теплоизоляционные маты в промежутки между лагами (рис. 61, а). Если монтаж утеплителя проводят, когда перекрытия уже выполнены, маты прикрепляют при помощи пластиковой или проволочной сетки либо пружинной проволоки путем установки прутков с шагом 400 мм (рис. 61, б). Маты, непосредственно выходящие в подвал, защищают сплошной обшивкой от нападения грызунов.
Место, где пол первого этажа примыкает у фундамента к каркасу наружной стены, изолируется по-разному, но сделать это нужно обязательно. Как правило, мат утеплителя занимает между лагами все пространство (рис. 62, а). Чтобы не образовывалась плесень и не появлялся запах гнили, подвал и теплоизоляционные маты необходимо периодически проветривать.
Над подвальными помещениями требуется организовать пароизоляцию в том случае, когда вследствие разницы температур в подвале и со стороны улицы возникает конденсат. Тогда на сторону матов, обращенную к помещению, укладывают пленку из полиэтилена. Ее кладут поверх основания для чистового пола или непосредственно на маты утеплителя. Чтобы пароизоляционный слой не прерывался, необходимо сварить пленку с пароизоляцией стены.

Рис. 61. Крепление теплоизоляции к каркасу пола: а) до монтажа перекрытий; б) снизу, после монтажа перекрытий; 1 – пол; 2 – лага; 3 – утеплитель; 4 – сетка; 5 – пружинная проволока
Тогда надо проследить, чтобы мат утеплителя не препятствовал притоку свежего воздуха; его нужно уложить, выполнив отступ от стены. Для этой цели между лагами прокладывают ограничительную распорку (рис. 62, б).

Рис. 62. Изоляция пола у фундамента: а) укладка необлицованного мата; б) установка ограничительной распорки; 1 – каркас стены; 2 – основание чистого пола; 3 – пароизоляция; 4 – плита жесткой теплоизоляции; 5 – жалюзи в обшивке для вентиляции подвала; 6 – теплоизолирующий мат; 7 – распорка между лагами; 8 – подкладной брус; 9 – фундамент
Глава 3. Утепление крыши
Целесообразно утеплять не только перекрытия, но и саму крышу, даже в том случае, когда чердачное помещение нежилое. Можно сказать, что через крышу уходит практически треть от общего числа теплопотерь дома.
К тому же, если крышу утеплить, тщательно гидроизолировать и обеспечить эффективной вентиляцией, это позволит, помимо эффективного энергосбережения, расширить жилую зону помещения за счет получившейся в результате мансарды, которую можно сделать такой же уютной и комфортной, как и все остальные комнаты.
Если крыша располагается над нежилым чердаком и состоит из стропил, обрешетки и кровли, то не всегда необходимо утепление. Чердак непрерывно проветривается, а температура и влажность воздуха в нем практически такие же, как и у наружного воздуха. В подобных домах главное – тщательно утеплить чердачное перекрытие.
Но если установлена подкровельная теплоизоляция, температура и влажность воздуха внутри мансардного этажа существенно отличаются от показателей воздуха на улице. Вместе с теплым воздухом вверх поднимается влага и соприкасается с более холодной, нижней, поверхностью крыши. Это провоцирует возникновение на ней конденсата. Также влага может проникнуть в элементы крыши, чему способствуют неаккуратная укладка паронепроницаемого слоя на внутренней поверхности утеплителя, недостаточное перекрывание полос пароизоляции, их неплотное прилегание к стенам и трубам, случайные разрывы и т. д. Поэтому в первую очередь при утеплении крыши нужно позаботиться об устройстве надежной пароизоляции, располагающейся со стороны внутренних помещений. Со стороны кровли утеплитель защищает слой гидроизоляции, уложенной по стропилам или специальному настилу.
Подобная защита утепленной крыши с двух сторон довольно надежна, но иногда этого недостаточно. Нужно предусмотреть способ для отвода случайно попавшей в утеплитель влаги. Такой эффект достигается при помощи циркуляции воздуха в полостях, одна из которых расположена между кровлей и подкровельной гидроизоляцией, а другая находится между подкровельным слоем и теплоизоляционным слоем. Чтобы наружный воздух свободно попадал в эти полости и так же легко из них удалялся, надо устроить в свесе крыши и в верхней части кровли продухи. Для свободного перемещения воздуха между кровлей и подкровельной гидроизоляцией уложить вдоль стропил рейки контробрешетки. Их толщина и определяет величину воздушной полости (рис. 63). В данную полость воздух проникает через отверстия, расположенные в боковых свесах крыши.

Рис. 63. Общая схема утепленной крыши: 1 – подкровельная гидроизоляция; 2 – контробрешетка; 3 – теплоизоляция; 4 – паронепроницаемый слой
Общие рекомендации по проведению теплоизоляционных работ
1. Работы, связанные с применением теплоизоляционных материалов, нельзя проводить во время снегопада или дождя, если не была произведена специальная подготовка рабочих мест. Зимой нарезку плит, а также изготовление сложных конструкций следует осуществлять в теплом внутреннем помещении.
2. Не следует приклеивать штучные утеплительные плиты, если температура воздуха опускается ниже –20 °С. Теплоизоляционные конструкции, которые требуют проведения «мокрых» процессов, следует монтировать при температуре воздуха не меньше +5 °С.
3. Нельзя утеплять сырые поверхности, например стены подвала, раньше, чем бетон наберет положенную прочность. Все работы, необходимые для теплоизоляции стен, которые находятся ниже уровня земли, нужно проводить только после окончания работ по гидроизоляции.
4. Не рекомендуется применять те теплоизоляционные материалы, качество которых подозрительно. Главный показатель негодности – влажность.
5. Не следует монтировать теплоизоляционные материалы на поверхность, которая не была предварительно подготовлена. Бетонные стены и основания следует прогрунтовать. Если нужно уложить несколько слоев утеплительных плит, то швы в первом слое требуется заполнить крошкой из того же материала, затем очистить поверхность от мусора, промазать битумом, после чего наклеить последующий слой вразбежку.
6. Не следует применять дюбели, когда клей до конца не высох, а также устанавливать их с шагом, превышающим 30 см. Использовать дюбели без подкладочных шайб нельзя.
7. Не рекомендуется устанавливать и наклеивать теплоизоляционные плиты, не делая перевязку швов и не обеспечивая зубчатое защемление на внутренних и внешних углах. Внешние углы дома, как правило, требуется усилить дополнительными сетками из стали.
8. Стыки плит нельзя располагать в местах дверных и оконных проемов.
9. Швы между теплоизоляционными плитами нельзя заполнять клеем.
10. При монтаже трехслойных стеновых конструкций, снабженных утеплением и облицованных кирпичом, при облицовке парапета, цоколя и карниза нельзя использовать силикатный кирпич. При монтаже защитной стенки из кирпича нужно обязательно заполнять горизонтальные и вертикальные швы.
11. При утеплении деревянных домов не следует использовать пенополистирол. Он будет препятствовать выходу водяных паров наружу, что приведет к гниению древесины. Лучше отдать предпочтение плитам из минеральной ваты.
12. Для защиты утеплителя в вентилируемом пространстве не следует использовать паронепроницаемые материалы – полиэтиленовую пленку или рубероид. Самый лучший выбор – паровыводящая ветрозащитная мембрана, выполненная из нетканого полиэтилена, обладающего высокой прочностью. В структуре волокон такого материала присутствует большое количество микропор, обеспечивающих свободный выход конденсата изнутри и защиту от воды сверху.
13. Не следует начинать работы по теплоизоляции перекрытий до полного завершения строительных работ на конкретном участке, включая заделку межпанельных швов, устройство вентиляционных отверстий, а также оштукатуривание парапетов из кирпича и т. д.
14. Нельзя использовать направляющие из железа при применении утеплительных материалов в качестве звукоизоляции, устраивая перекрытия в многоэтажных домах. Металл хорошо проводит и звук, и тепло. Для междуэтажных перекрытий лучше всего применять засыпки либо минераловатные рулоны или плиты.
Как избежать проблемы повышенной влажности
После проведения теплоизоляционных работ возможно повышение влажности внутри помещения, что негативно влияет на микроклимат. Для этого есть несколько причин.
1. В утепленных конструкциях имеются зазоры или трещины, что означает нарушение их целостности. Поэтому, прежде чем приступать к выполнению работ, необходимо тщательно проверить все основания и заблаговременно устранить все имеющиеся дефекты.
2. Нет пароизоляционного слоя или он поврежден. В таком случае влага из помещения не выходит, а накапливается в утеплительном материале. Поэтому нужно обязательно применять паробарьерную пленку, проклеив стыки листов специально предназначенной для этого лентой.
3. Система естественной и принудительной вентиляции помещения оказалась нарушена. Например, во время проведения ремонта вентиляционные отверстия были перенесены либо заблокированы, шахта перекрыта, установлены металлопластиковые окна. Все вышеперечисленные действия приводят к снижению циркуляции воздуха вследствие чрезмерной герметичности конструкции, поэтому требуется периодически проветривать помещение или позаботиться об установке приточно-вытяжной вентиляции.
Утепление скатной кровли
Утеплить крышу с каркасом из стропильных систем можно одним из четырех способов: с укладкой утеплителя между стропилами, на стропила, под стропилами либо комбинированным путем. В большинстве случаев теплоизоляцию выполняют самым простым способом – с укладкой теплоизоляционного материала между стропилами.
Утепление крыши между стропилами
Изоляция при таком способе утепления должна быть сплошной, просветы не допускаются. Это относится и к зонам примыкания к стенам, трубам и окнам, которые встроены в плоскость крыши. Такой подход объясняется тем, что любое место прерывания теплоизоляции ведет к возникновению мостика холода. Также в недостаточно утепленных местах из-за разности температур может возникнуть конденсат, который постепенно разрушит всю конструкцию. Необходимо помнить, что мансарда всегда приносит большие теплопотери, чем остальные этажи, поскольку вся ее поверхность соприкасается с улицей. Поскольку тепло уходит не только через скаты, но и через фронтоны, требуется изолировать весь контур крыши.
Например, к проблеме может привести незаизолированное примыкание к конструкции крыши коленчатой стенки. При утеплении стен мауэрлаты обычно не изолируются. Когда проводится теплоизоляция кровельного ската, она также довольно часто доводится лишь до уровня мауэрлата (рис. 64, линия 4). Благодаря этому, возникает мощный мостик холода, по которому тепло уходит из помещения (рис. 64, штриховая стрелка). Чтобы избежать подобного негативного явления, нужно завернуть утеплитель скатов мансарды на мауэрлат до того места, куда доходит утепление наружной стены.

Рис. 64. Изоляция примыкания коленчатой стенки к крыше: 1 – утеплитель стены; 2 – мауэрлат; 3 – утеплитель крыши (минвата); 4 – место, где нельзя обрывать утеплитель
Выбор теплоизоляционного материала
Наибольшей популярностью при теплоизоляции крыш пользуются минерально-волокнистые маты, пенополистирольные и пенополиуретановые плиты, обладающие теплопроводностью 0,35 – 0,40 Вт/м × К.
При выборе материала следует обратить внимание на то, чтобы он не давал усадку и не проседал под давлением собственного веса. Если подобное произойдет, могут появиться мостики холода. Такой эффект часто наблюдается при применении стекловолокнистых материалов маленькой плотности.
Мауэрлат представляет собой специальный брус, удерживающий стропила кровли. Он предназначен для равномерного распределения на стены дома нагрузки от веса крыши. Благодаря ему, крыша служит долго и не обрушивается под тяжестью снега зимой.
Пенополистирол лишь отчасти подходит для утепления скатных крыш: при его использовании следует обязательно провести ряд противопожарных мероприятий, которые включают в себя антипиреновую пропитку конструкций из дерева, устройство огнезащитных слоев и т. д. Самый целесообразный материал – гидрофобизированные плиты, выполненные из базальтовых горных пород и кашированные фольгой либо стеклохолстом. Они как нельзя лучше подходят для теплоизоляции ненагруженных кровельных конструкций. Следует также обратить внимание на то, чтобы ко всем выбранным материалам прилагались гигиенические сертификаты.
Этапы работы
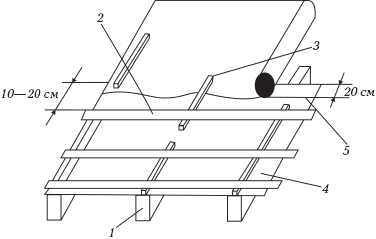
Сначала производят гидроизоляцию. Пленку раскатывают горизонтально в направлении от карниза к коньку крыши с нахлестом (рис. 65). На пленке места такого нахлеста обозначаются специальной полосой, а его величина напрямую зависит от уклона кровли. Если уклон составляет до 21 %, нахлест должен быть не меньше 20 см, при 22 – 30 % он составляет 15 см, а при уклоне больше 31 % требуется нахлест 10 см. Гидроизоляционная пленка крепится с помощью строительного степлера либо оцинкованных гвоздей с широкой шляпкой. Места нахлеста требуется изолировать специальной клейкой лентой.
Желательно раскатывать пленку так, чтобы места нахлестов попадали на конструкции из дерева (рейки контробрешетки, стропила, дистанционные бруски). Если обрешетка пропитывалась специальным антисептическим средством, перед укладкой пленки следует убедиться, что пропитка окончательно высохла.

Рис. 65. Монтаж гидроизоляционных пленок: 1 – стропило; 2 – обрешетка; 3 – контробрешетка; 4 – первая полоса пленки; 5 – нахлест второй полосы
Слой гидроизоляции у карниза и свеса крыши над фронтоном должен выступать за линию стен не меньше чем на 2 см, а по торцам крыши выходить на торцевые доски. У карниза он выводится прямо по стропилу и крепится при помощи специальной клейкой ленты.
При укладке перфорированной пленки нужно обязательно следить за тем, чтобы перфорация «смотрела» наружу. В противном случае она будет пропускать влагу внутрь кровли и препятствовать выходу пара изнутри. На пленке всегда имеются надписи, на которых указана ее лицевая (наружная) сторона.
Пленку надо укладывать, оставляя провис между стропилами, равный 20 мм. Он необходим для того, чтобы исключить возможное натяжение пленки и разрыв вследствие уменьшения ее размеров от холода. Желательно, чтобы при этом расстояние между стропилами составляло не более 1,2 м (рис. 66).
Следующий этап – укладка утеплителя. В местах соединения утеплителя стен и ската кровли нужно постараться сделать так, чтобы оба этих слоя очень плотно прилегали друг к другу. Также такие места требуется дополнительно укрепить армирующей сеткой и организовать защиту от попадания дождя. В скатной крыше они, как правило, располагаются под карнизом, который предохраняет их от атмосферной влаги, а для плоской крыши требуется предохранение с помощью жестяных фартуков и уплотняющей полиуретановой ленты (рис. 67).

Рис. 66. Конструкция гидроизоляции кровельного «пирога»: а) пленкой (с двумя вентиляционными зазорами); б) мембраной (с одним вентиляционным зазором); 1 – контробрешетка; 2 – гидроизоляционная пленка; 3 – кровельное покрытие; 4 – обрешетка; 5 – стропило; 6 – мембрана; 7 – утеплитель; 8 – верхний вентиляционный зазор; 9 – нижний вентиляционный зазор; 10 – пароизоляция

Рис. 67. Соединение с утеплителем стены утеплителя: а) скатной крыши; б) плоской крыши; 1 – утеплитель; 2 – армирующая сетка; 3 – жестяной фартук; 4 – уплотняющая лента из полиуретана
Затем укладывают антиконденсатную пленку. Ее нужно разложить на стропилах в направлении от карниза к коньку крыши. Укладку производят с нахлестом, впитывающей поверхностью вниз, после чего закрепляют при помощи скоб строительного степлера либо оцинкованных гвоздей с широкой шляпкой. Пленку нужно укладывать с натягом, не допуская провиса. Место проклейки желательно усилить прижимной планкой. Особенно важно это сделать, если угол наклона крыши составляет меньше 30°. Нижняя поверхность пленки не должна соприкасаться с утеплителем. Для обеспечения проветривания расстояние между утеплителем и антиконденсатной пленкой должно составлять около 40 – 60 мм.
Если пароизоляционная пленка фольгированная, то ее укладывают отражающей поверхностью внутрь помещения. Стыки такого материала проклеивают специальным фольгированным скотчем.
В тех местах, где пленка примыкает к внутренним стенам, печным трубам и т. п., надо обратить внимание на характер поверхности, к которой она будет прикрепляться, поскольку соединение обязательно должно быть герметичным. К материалам, обладающим шероховатой поверхностью (нестроганой древесине), пароизоляционную пленку приклеивают при помощи полиуретанового, акрилового или синтетического клея. На подобных поверхностях нельзя применять скотчи, уплотнительные полиуретановые ленты, поскольку герметичность соединения может нарушиться. Если в конструкции кровли используются металлические балки, то к ним пароизоляцию прикрепляют при помощи клея или двусторонней ленты.





