
Полная версия:
Валентин Георгиевич Соломенчук Аппаратные средства персональных компьютеров. Самоучитель
- + Увеличить шрифт
- - Уменьшить шрифт
Возьмем в руки прайс-лист какого-либо компьютерного магазина и попробуем заказать себе наиболее дешевый компьютер. Сделаем мы это для того, чтобы понять, что стоит за понятием «конфигурация компьютера» и где находятся подводные камни, которые могут свести всю нашу доморощенную экономию к отрицательной величине. Кроме того, мы хоть немножко разберемся с теми сокращениями, которые в великом множестве присутствуют в прайс-листах на компьютерную комплектацию. Результаты нашей работы сведем в табл. 1.1.
Первым пунктом в нашей конфигурации компьютера идет корпус MiniTower ATX с блоком питания, а это означает, что системная плата должна быть стандарта АТХ.
Может показаться, что сперва надо определиться с процессором и другими элементами, но для дешевых вариантов компьютеров это не совсем так. Цена хорошего корпуса составляет существенную часть стоимости компьютера и соизмерима со стоимостью системной платы. Кроме того, тип корпуса определяет возможность использования того или иного стандарта платы. Конечно, можно выбрать системную плату, а далее корпус, но результат будет тот же, только добавятся лишние проблемы.
Таблица 1.1. Подбор дешевой конфигурации компьютера
Вторым пунктом идет недорогая системная плата SuperGrace VIA693A, которая позволяет использовать процессоры Intel Celeron Mendocino или Coppermine, которые требуют пониженного напряжения питания, а также Pentium III с корпусом, предназначенным для установки в Soket 370. Следует заметить, что системная плата комплектуется набором шлейфов (кабелей для подключения внешних устройств) для винчестера, CD-ROM и дисковода гибких дисков.
Выбор системной платы SuperGrace VIA693A влечет за собой выбор процессора Intel Celeron с тактовой частотой 733 МГц в корпусе FCPGA. В будущем, модернизируя компьютер, можно будет установить либо более высокочастотный процессор Celeron, либо перейти на Pentium III, но, к сожалению, невозможно будет использовать Pentium 4 или процессоры корпорации AMD.
Следующий пункт – это радиатор для процессора, т. к. наиболее дешевый вариант подразумевает, что процессор продается без дополнительных аксессуаров. Только чуть более дорогая, "боксовая", поставка процессора комплектуется радиатором с кулером.
Системная плата также определяет возможность использования того или иного типа модулей ОЗУ. Для нашего варианта выберем модуль памяти DIMM РС133 объемом 128 Мбайт, т. к. установка 64 Мбайт, а тем более 32 Мбайт, не позволит эффективно использовать современное программное обеспечение! Более современные типы модулей ОЗУ не поддерживаются чипсетом системной платы.
Так как системная плата не содержит "на борту" встроенного видеоадаптера, то следующим пунктом в конфигурации идет видеоадаптер Riva TNT с объемом ОЗУ 8 Мбайт. Эта карта отлично подходит для офисных приложений и позволяет играть в популярные игры типа Quake 3.
Выбор винчестера Maxtor с объемом в 10,2 Гбайт определяется только кошельком, т. к. дешевые винчестеры с меньшим объемом уже просто не производятся.
Дисковод гибких дисков сегодня не совсем обязателен, но его желательно иметь, чтобы была возможность установить и настроить операционную систему без поиска специальных загрузочных компакт-дисков.
Привод для компакт-дисков Samsung с максимальной скоростью чтения в 52 раза выше, чем музыкального диска, нужен для установки операционной системы и прикладных программ. Если его не включить в конфигурацию, то придется регулярно одалживать CD-ROM у приятеля.
Так как выбранная системная плата имеет встроенный звуковой контроллер (во второй строчке прайс-листа это слово "sound"), то в большинстве случаев не требуется установки отдельной звуковой карты.
Выбранные для нашей конфигурации дешевые клавиатура и мышь – обязательные принадлежности компьютера, относятся к той категории, которая подразумевает, что при интенсивном использовании компьютера они прослужат пару месяцев. Далее клавиши клавиатуры станут плохо нажиматься, а мышь будет регулярно требовать внимания.
Предупреждение
Рассмотренная в этом разделе конфигурация компьютера имеет только одно достоинство – она наиболее дешевая. В остальном, в будущем – одни разочарования.
Стандартные конфигурации компьютеров
Из того набора комплектующих узлов – видеокарт, винчестеров, CD-ROM и прочего периферийного добра, которое выпускают несколько сот фирм в мире, как в мозаике, можно очень просто сложить практически бесконечное число разнообразных конфигураций компьютера. Но если подойти с технической точки зрения, то, увы, не слишком большое число подобных конструкций будет работать оптимально и без проблем.
Если перевести последнюю фразу, то получится следующее: производительность компьютера будет далека от той, которая декларируется в красочных проспектах фирм – изготовителей узлов; постоянно будут возникать проблемы поиска драйверов для оборудования; операционная система Windows, как наиболее потребляющая ресурсы программа, будет настраивать свои параметры по наихудшему в компьютере блоку; периодически будут возникать зависания компьютера, что означает невозможность использования его для бизнес-приложений.
Можно выдать маленький секрет индустрии высоких технологий: любой блок компьютера разрабатывается для ограниченного круга применений и тестируется с не слишком большим числом блоков сторонних производителей, хотя, как везде пишется, "обеспечивается совместимость" со стандартами для IBM PC совместимых компьютеров. Соответственно, например, винчестер или память покажут наивысшие показатели производительности и надежности только работая на определенных типах системных плат, оснащенных конкретными типами процессоров.
Крупные фирмы разрабатывают и предлагают своим покупателям "стандартные" конфигурации компьютеров, которые предназначены для конкретных сфер применения. Для каждой такой конфигурации проводят тестовые испытания комплектующих блоков и отбирают совместимые друг с другом. Хотя такие "стандартные" компьютеры и дороже, чем тот вариант, который мы комплектовали в предыдущем разделе, но зато они показывают отличную производительность и надежность. И, что не маловажно, фирмы могут дать нормальную гарантию на любой такой компьютер, а не просто ограничиваться заменой вышедшего из строя блока. То есть покупатель может быть уверен, что все программы, которыми он пользуется, будут работать без проблем, а при необходимости он всегда может получить квалифицированную консультацию по настройке оборудования.
Кроме того, производителям и продавцам легче, когда продаваемая номенклатура не слишком большая, не говоря о том, что это всегда дешевле, чем индивидуальная сборка.
Глава 2
Процессоры
Сердцем любого персонального компьютера является процессор (часто используется термин – «микропроцессор»), который, как принято считать, занимается арифметикой и дает команды внешним устройствам. В какой-то мере это верно. Самые первые процессоры по-другому и не умели, т. к. их возможности были очень скромными. Но современный процессор скорее можно сравнить с небольшой бюрократической конторой, где есть начальник и множество исполнителей: секретарей, курьеров, делопроизводителей и прочего служивого народа.
Как самый настоящий начальник в конторе, процессор выдает приказы-распоряжения всем узлам компьютера, например, прочитать компакт-диск, сохранить в памяти данные, выключить питание. Распоряжения же выполняют другие специализированные процессоры, которыми снабжены все современные внешние устройства. Так что в компьютере, который тихо стоит на вашем столе, можно насчитать с десяток самых разнообразных микропроцессоров, правда, о них обычно даже не вспоминают.
Но, в то же время, процессору приходится также выполнять и арифметические функции. Даете процессору команду сложить два плюс два, и ему придется это делать самому. Правда, внутри процессора за такую операцию будет отвечать блок арифметических операций – безымянный конторский служащий. А за умножение или деление чисел с запятыми отвечает блок сопроцессора, который только и умеет очень быстро обсчитывать большие числа.
Конструктивно современный процессор в большинстве случаев представляет собой прямоугольный кристалл кремния, вмонтированный в керамический корпус, с одной стороны которого находятся несколько сотен золоченых ножек-штырей, а с другой стороны – металлическая крышка. Не впечатляюще, но зато внутри, на кристалле, расположены миллионы транзисторов, созданных с помощью сложнейших технологий.
История шаг за шагом
Чтобы понять, как работает современный процессор Pentium, лучше всего поэтапно вспомнить историю развития микропроцессоров семейства x86, т. к. каждый новый процессор обязан уметь понимать и выполнять все команды, которыми владели младшие модели. Поэтому даже те команды, которые требовались калькулятору, собранному на самых первых микропроцессорах Intel, выполняются и на сверхмощном Pentium. То есть нельзя забывать, что современные компьютерные технологии не создались на пустом месте и не являются раз и навсегда установленным сводом законов. Потребовался труд тысяч ученых и инженеров, чтобы обычный домашний компьютер мог так просто справляться с любыми заданиями – играми, музыкой, видеофильмами.
Персональный компьютер IBM
Началась история персональных компьютеров (еще есть термин – микроЭВМ) в 1981 г., когда корпорация IBM представила свою микро-ЭВМ IBM PC. Ее название попросту означало «Персональный компьютер IBM». (Этот же год стал счастливым для нынешнего компьютерного гиганта – корпорации Microsoft, которой IBM поручила разработать операционную систему для нового компьютера.)
Компьютер IBM PC не представлял собой ничего особенного: не слишком удачная механическая конструкция, неудобная внутренняя структура (архитектура), не самый удачный процессор от корпорации Intel, но все же именно потомкам этой, средненькой во всем, микро-ЭВМ предстояло завоевать 80 % рынка компьютерной техники за совсем короткий срок. А ведь микро– и мини-ЭВМ тогда разрабатывало и производило много фирм, и некоторые образцы даже по теперешним понятиям представляли собой, честно говоря, более совершенные системы.
И сама корпорация IBM, видимо, учитывая непритязательность своего детища, запатентовала только BIOS (Basic Input Output System, базовую систему ввода/вывода), не догадываясь о блистательном будущем своего детища, которое терялось на фоне основной продукции – больших ЭВМ (одних из лучших в то время). Тем более, что разработчики IBM позаимствовали многие технические решения у других фирм, например, идея так называемой открытой архитектуры была взята у фирмы Apple.
Пренебрежительное отношение IBM к своей "несерьезной" ЭВМ сыграло с компьютерным гигантом злую шутку – простота разработки дополнительных модулей и отсутствие необходимости лицензирования дало возможность появиться фирмам, которые стали производить самые разнообразные устройства, расширяющие возможности IBM PC. В дальнейшем появились и клоны (аналоги) микро-ЭВМ IBM PC. Правда, массовый характер это приняло после появления IBM PC XT.
Популярность их первенца у пользователей заставила фирму IBM в 1983 г. начать производство компьютеров IBM PC XT. Буквы XT были взяты из слова еХТга, что обозначало расширенные возможности нового компьютера по сравнению с предшественником. Именно появление IBM PC XT послужило тем водоразделом, когда многообразие типов компьютеров сменило многообразие аналогов. В этом процессе главную роль сыграли производители из Юго-Восточной Азии, и, в первую очередь, с Тайваня.
В 1984 г. появилось новое поколение IBM PC совместимых компьютеров – IBM PC AT (буквы AT обозначали улучшенную технологию, Advanced Technology). Это действительно было новое поколение компьютеров, а не совершенствование старых, т. к. основой, "сердцем" компьютера стал микропроцессор Intel 80286 (обычно говорят просто 286). Смена процессора позволила программистам использовать память за пределами 1 Мбайт без сложных аппаратных ухищрений, кроме того, появился защищенный режим работы, в котором работает операционная система Windows.
Микропроцессоры 80286 выпускала корпорация Intel, не зависящая от IBM, что делало эти микросхемы доступными всем желающим, поэтому уже через полгода появились совместимые с IBM PC AT компьютеры других производителей. Сначала их выпускали фирмы в США, но очень быстро почин подхватили фирмы Юго-Восточной Азии. Клоны продавались в 2–3 раза дешевле оригинальных моделей IBM, что делало персональные компьютеры доступными большому кругу пользователей.
Процессор 80286 имел ряд недостатков, особенно при работе в защищенном режиме, поэтому в 1986 г. появился новый процессор Intel 386, который и стал образцом для всех остальных процессоров семейства х86. Компьютер на базе процессора 386 уже может работать с большинством современного программного обеспечения, правда, очень медленно. Самая же любопытная история, связанная с этим процессором, это то, что не корпорация IBM выпустила первый компьютер с процессором i386. Неповоротливость колоссальной корпорации позволила небольшим, но честолюбивым фирмам, выпустить новые персональные компьютеры раньше создателей IBM PC.
Дальше – наше время – головокружительная гонка высоких технологий и потеря корпорацией IBM лидирующего положения в области разработки и производства персональных компьютеров. Все попытки IBM вернуть утерянные позиции с помощью создания новых стандартов, лицензии на которые предлагалось покупать очень дорого, привели к тому, что общепризнанными стандартами становились разработки других фирм.
Например, серия компьютеров IBM PS/2 не получила признания из-за попытки навязать производителям компьютеров лицензионную шину расширения МСА. Большинство производителей компьютеров не поддержали инициативу IBM, а пошли по пути разработки открытого стандарта, что обусловило более низкие цены на их компьютеры.
Сегодня 80 % компьютерного рынка – это персональные компьютеры на базе процессоров семейства х86 и их аналогов, среди которых наибольшую известность имеет семейство AMD. Но у такой мировой унификации персональных компьютеров есть и отрицательные черты – современным процессорам приходится подстраиваться под предшественника – Intel 8086. В Pentium быстрое внутреннее RISC-ядро вынуждено эмулировать работу старых процессоров со всеми их слабыми местами. Плюс наследство от IBM PC – низкоскоростной обмен с периферийными устройствами и оперативной памятью.
Сегодня хорошо видно, что требуется переход от старых технологий к новым, но мировая индустрия персональных компьютеров обладает огромной инерцией, что мы, как пользователи, постоянно ощущаем на себе. Вот самый яркий пример – время начальной загрузки компьютера, несмотря на 100-кратное возрастание частоты процессоров, так и не уменьшилось, а даже стало еще дольше из-за более громоздкого программного обеспечения. Таких примеров вы сами можете привести немало – только надо вспомнить и сравнить старое и новое.
Конечно, не все так плохо – ведущие производители уже давно работают над новыми стандартами для будущих поколений персональных компьютеров. Правда, прийти к общему мнению им пока не удается, но ряд тенденций уже наметился. В первую очередь – это отказ от громоздкой шины ISA, внедрение USB-интерфейса для внешних устройств, стандарта АТХ для блоков питания. Но все же чисто экономические причины заставляют пользователей покупать, а производителей разрабатывать и продавать персональные компьютеры и периферийное оборудование со старыми стандартами. Уж очень стремителен прогресс компьютерных технологий, а пользователю так трудно отказаться от компьютера, который хотя и куплен 2–3 года назад, но, к сожалению, уже морально устарел. Вот и получается, что мы стараемся продлить жизнь своим персональным "чудам", добавляя памяти, вставляя новые дисководы…
Процессоры Intel
История персональных компьютеров неразрывно связана с микропроцессорами корпорации Intel. Инженеры корпорации первыми создали микросхему, в которой целиком была смоделирована вычислительная машина – калькулятор. И в дальнейшем именно корпорация Intel разрабатывала наиболее массовые процессоры для компьютеров. Поэтому рассмотрим шаг за шагом, как усложнялись конструкции процессоров семейства х86. Желающие узнать об этом из первоисточника, могут заглянуть на русскоязычный сайт корпорации (http://www.intel.ru)[2].
Докомпьютерная эра
Первая «компьютерная» микросхема была разработана в 1971 г. (официальная дата рождения 15 ноября) инженерами корпорации Intel по заказу небольшой японской фирмы, которая производила настольные калькуляторы Busicom.
Микросхема получила обозначение 4004 (рис. 2.1).

Рис. 2.1. Микросхема 4004
Примечание
На сервере корпорации Intel по адресу http://www.lntel.ru можно найти цветные фотографии кристаллов микросхем. Так, на фотографии кремниевого кристалла, который находится в микросхеме 4004, хорошо видны контактные площадки по краям, к которым припаиваются золотые проводки, ведущие к контактам корпуса микросхемы. Так как количество элементов на кристалле невелико, то ясно просматриваются отдельные элементы и напыленные проводники. В дальнейшем, по мере увеличения количества элементов кристалла и уменьшения их размеров, наглядность изображений значительно снижается.
Сегодня для обозначения процессоров часто добавляют букву "i" перед цифрами, например – i486, чтобы указать на изготовителя – корпорацию Intel, т. к. ряд фирм выпускают процессоры Intel по лицензии.
Технические характеристики 4004 в то время были довольно впечатляющие, хотя сегодня они вряд ли вызовут восхищение. Тактовая частота была всего 108 кГц, а количество выполняемых операций – 0,06 млн./с. По сравнению сегодняшними гигагерцами (миллиардами герц) совсем-совсем мало, но тридцать с небольшим лет назад это были отличные показатели.
Количество транзисторов в микросхеме составляло 2300 штук, которые выполнялись по 10 мкм технологии.
Размерность шины данных составляла совсем маленькую величину – 4 бита, а адресуемая память достигала 640 байтов (байтов, а не килобайт или мегабайт). Но поскольку основным назначением микросхемы было выполнение арифметических вычислений в калькуляторе, этого вполне хватало.
Вторая микросхема 8008, которая разрабатывалась одновременно с процессором 4004, появилась в апреле 1972 г. Ее тактовая частота достигла уже 200 кГц. Внешний вид микросхемы показан на рис. 2.2.

Рис. 2.2. Микросхема 8008
В новом процессоре шина данных была удвоена до 8 битов. Количество транзисторов на кристалле достигло 3500 (технология 10 мкм), соответственно, адресуемая память возросла до 16 Кбайт (тысяч байтов). Обратите внимание, что количество транзисторов не увеличилось пропорционально увеличению шины, т. к. в новом кристалле расположили не два процессора 4004, а разработали другую схему.
Как сказано на сайте корпорации Intel, основное назначение микросхемы 8008 – это использование ее в терминалах ввода/вывода, калькуляторах общего назначения и автоматах бутылочного разлива, а также в обработке данных и текста.
Шина данных
На протяжении всей книги будет использоваться термин «размерность шины», например, 16-разрядная шина, 32-разрядная шина и т. д. В компьютерной индустрии это означает, что информация передается от устройства к устройству не по одному проводу, а параллельно по многим проводникам. Но, в любом случае, используется один общий провод, который называется «земля» или «общий».
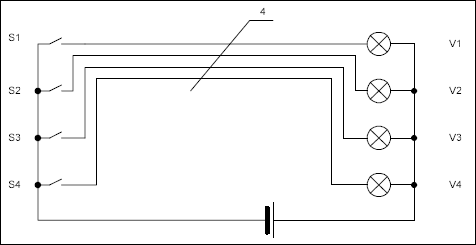
На рис. 2.3 показаны четыре лампочки, управляемые четырьмя выключателями – это наглядная иллюстрация четырехразрядной шины данных.

Рис. 2.3. Иллюстрация работы четырехразрядной шины
Можно также вспомнить, как устроено освещение в квартире. Например, к люстре для включения света в комнате могут подходить 3 провода, т. е. здесь используется 2-разрядная шина.
Технологии
Независимо от того, как выглядит корпус процессора (часто используется термин «чип», от англ. chip), внутри обязательно находится тонкая кремниевая пластинка площадью около 1 квадратного сантиметра, на которой вытравлены микротранзисторы, резисторы, конденсаторы. Каждый элемент на кристалле соединяется с другими тонкими проводниками, которые создаются напылением на кремний пленки золота, алюминия или меди.
Производство микросхем напоминает печать обычных фотографий с помощью фотоувеличителя. Через фототрафарет, аналог фотопленки, засвечивается фотослой, который нанесен на кремниевую пластину. Потом ее многократно травят в химических реактивах и напыляют в нужных местах слои металла. При установке кристалла в корпус микросхемы контактные площадки на кристалле с помощью тонких золотых проводников соединяют с выводами микросхемы.
В современных процессорах количество транзисторов превышает несколько десятков миллионов штук, но вот размеры кремниевых кристаллов не могут быть большими. В первую очередь, это обусловлено огромной ценой больших кристаллов, да и размеры корпуса процессора ограничены. Поэтому при изготовлении процессоров используются самые передовые технологии. Даже можно сказать, что разработка новых процессоров всегда влечет появление новых технологий, т. к. эти микросхемы содержат больше всего различных элементов на кристалле.
Наиболее выгодно сокращать размеры элементов и толщину проводников, т. к. в этом случае на одном и том же кристалле можно разместить значительно больше транзисторов. В первых процессорах использовалась технология 10 мкм, означающая, что минимальная толщина проводников или геометрические размеры транзисторов на кристалле кремния могут быть не меньше 10 мкм. В последних разработках используется технология 0,13 и даже 0,08 мкм, а это уже соизмеримо с длиной волны солнечного света. Поэтому в техпроцессе начинают применять мягкое рентгеновское излучение и пучки электронов, как в кинескопах.
Примечание
Технический термин, например, "0,13 мкм технология" означает, что размер поликремниевого затвора транзистора, созданного на кремниевой пластине, не может быть меньше 0,13 мкм. Этот параметр не только характеризует геометрические размеры, но и напрямую связан со скоростью работы микросхемы и энергопотреблением. Уменьшение размеров элементов на кристалле позволяет увеличить рабочую частоту и уменьшить потребляемый ток и напряжение. В свою очередь, уменьшение энергопотребления позволяет увеличивать рабочую частоту. Можно сказать, что ключевая проблема современной микроэлектроники заключается в том, как отвести тепло, выделяемое при работе, от кристалла. Например, без внешнего радиатора современный процессор нагреется до температуры выше 100 градусов примерно за секунду.
8-разрядные микропроцессоры
Начало массового использования вычислительной техники следует отнести к моменту появления микропроцессора 8080. Эта очень простая по современным понятиям микросхема дала возможность многим пытливым умам попробовать себя на поприще создания компьютеров, что ранее было доступно только хорошо оснащенным лабораториям.
О начале выпуска процессора 8080 (рис. 2.4) объявили в апреле 1974 г. Количество транзисторов на кристалле достигло 6000 (технология 6 мкм).

Рис. 2.4. Процессор 8080
У 8080 поражала тактовая частота, которая достигла 2 МГц, что позволяло выполнять 0,64 млн. операций в секунду. Самым же важным было то, что шина данных работала с байтами — самыми простыми 8-битовыми машинными словами, что позволяло очень просто разрабатывать весьма разнообразные вычислительные устройства. Соответственно, увеличение разрядности шины данных позволило организовать адресуемую память размером 64 Кбайт – поистине, в те времена, фантастическая возможность для маленькой микросхемы.
По сравнению с процессором 8008, производительность 8080 возросла в десять раз. Наиболее важным следствием появления 8080 стало то, что для создания вычислительного устройства теперь не требовалось очень много вспомогательных микросхем. То есть появилась возможность разрабатывать небольшие и надежные вычислительные системы на одной плате.
На процессоре 8080 был собран один из первых персональных компьютеров "Altair computer". Вспомнить об этом компьютере следует еще и потому, что для его самостоятельной сборки было выпущено несколько десятков тысяч комплектов, которые пользовались колоссальным успехом. В дальнейшем множество фирм использовали 8080 в самых разнообразных конструкциях. Можно вспомнить и первый в России радиолюбительский компьютер "Радио 86РК", который до появления схемы компьютера "Синклер" был самой популярной компьютерной самоделкой у радиолюбителей.






