
Полная версия:
Boxodir Xoshimovich Karimov Elektronika asoslari. O'quv qo'llanma
- + Увеличить шрифт
- - Уменьшить шрифт

2.2-rasm. Energetik zonalarniki, a-oqekazgihlarniki; b-yarim-oqekazgihlarniki; c – dielektriklarniki: 1 – oqekazuvchanlik zonasi; 2 – valent zona; 3 – jamoa zonasi.

2.2-rasm. Energetik zonalarniki, a-oqekazgihlarniki; b-yarim-oqekazgihlarniki; c – dielektriklarniki: 1 – oqekazuvchanlik zonasi; 2 – valent zona; 3 – jamoa zonasi.

2.2-rasm. Energetik zonalarniki, a-oqekazgihlarniki; b-yarim-oqekazgihlarniki; c – dielektriklarniki: 1 – oqekazuvchanlik zonasi; 2 – valent zona; 3 – jamoa zonasi.
Bu elektronning energiyasi o’tkazuvchanlik zonasidagi energetik satxlar qiymati bilan aniqlanadi. Energiya ortishi bilan, sof yarim o’tkazgichda elektron valent zonaning yuqori satxidan o’tkazuvchanlik zonasiga o’tadi. Bunga xususiy o’tkazuvchanlik deyiladi. Valent zonasidan elektron chiqib ketganda, unda «teshik» deb ataluvchi bo’sh (vakant) o’rin xosil bo’ladi (2.3 – rasm). Erkin elektron boshqa zarrachalar bilan to’qnashganda, o’z energiyasining bir qismini sarflaydi va bu energiya satxida yana kovalent bog’lanishga kirishadi.
Bu xodisaga rekombinasiya jarayoni deyiladi. Elektron – teshik juftlarining xosil bo’lish jarayoni, parallel ravishda o’tadi va issiqlik muvozanatida erkin elektronlarning soni o’rta xisobda o’zgarmas saqlanadi. Atom bilan bog’langan elektronning energiyasi satxdan ortiqroq bo’lsa:

2.3 rasm. Elektron – teshik juftlarining xosil bo’lishi. a – germaniy, b – energetik diagramma: 1 – o’tkazuvchanlik zona, 2 – taqiqlangan zona, 3 – valent dona, 4 – elektron – teshik juftlarining xosil bo’lishi.
Valent zonasidagi vakant (bo’sh) satxga o’tishi va zaryad tashuvchi bo’lishi mumkin. Sof yarim – o’tkazgichlarda zaryad tashuvchilar kontsentrasiyasi, yaxni erkin elektron va teshiklar soni bir santimetr kubda 1017 ta bo’lib, solishtirma elektr qarshiligi 0,65 Om m (germaniy) dan 10 Om m (selen) gacha bo’ladi. Yarim o’tkazgichdagi jarayonlarni modellashtirish qulay bo’lishi uchun, bog’langan elektronlar xarakati o’rniga zaryad va massalari elektronlarnikiga teng, lekin ishorasi qarama – qarshi bo’lgan kvazi zarracha – teshiklar xarakati tekshiriladi. Ularning xarakat yo’nalishi elektronlar xarakati yo’nalishiga teskari olinadi. Zaryad tashuvchilar – elektron va teshiklar xarakati umumiy xolda, ikkita komponentdan tashkil topadi: kontsentrasiyasi kam bo’lgan yo’nalishida vujudga kelayotgan tartibsiz xarakat – diffuziya va tashqi elektr maydon ta’siridagi xarakat – dreyfdan iborat. Sof yarimo’tkazgich ishtirokida ko’rib o’tilgan xolat unga juda oz miqdorda (10—4 … 10—6%) aralashma qo’shilishi tufayli keskin o’zgarib ketadi. Masalan, germaniy kristall panjarasida besh valentli mishyak atomi (rasm 2.4 a-rasm) aralashmasi bo’lsa, uning valent bog’langan to’rtta elektronlari germaniy atomlari bilan kovalent bog’lanish o’rnatishda ishtirok etadi. Beshinchi elektron atom bilan kristall panjarada mustaxkam aloqada bo’lmay, erkin elektron bo’lib qoladi. Aralashmaning beshinchi «ortiqcha» elektroni tashqi ta’sir natijasida «o’zining» atomi ta’siridan chiqib ketadi va zaryad tashuvchilarning dreyf oqimini xosil qilishi yoki erkin xarakatlanishi mumkin. Boshqacha aytganda, yarim o’tkazgichlarda aralashmalarning bo’lishi, legirlangan yarim o’tkazgich elektr qarshiligining keskin kamayishiga (germaniy uchun 10—4 Om mm va kremniy uchun 0,5 Om mm) va ko’p miqdorda erkin elektronlar hosil bo’lishiga olib keladi. Erkin elektronlar xarakati bilan yuzaga kelgan o’tkazuvchanlikni «n» – turli elektron o’tkazuvchanlik, materialning o’zini esa «n» – turli yarim – o’tkazgich deb ataladi (n – lotincha negativ – manfiy so’zidan olingan). Yarim o’tkazgichdagi elektron o’tkazuvchanlikni xosil qiluvchi aralashmalar donorlar deyiladi. Donor aralashmali valent elektronlarning energetik satxlari (o’tkazuvchanlik zonasi) yarim – o’tkazgichning taqiqlangan zonasining yuqorirog’ida joylashgan bo’ladi. Bunday bo’lishi materiallarda donor satxlarini xosil qiladi. (rasm 2.4 b-rasm).

2.4 -rasm. Mishyak aralashgan germaniyning ekvivalent panjarasi (a) va energetik zona diagrammasi (b): 1 – o’tkazuvchanlik zonasi, 2 – taqiqlangan zona, 3 – valent zona, 4 – aktseptor satxi, 5 – erkin elektron.
Donor satxi energiyasiga ega bo’lgan elektronlar o’tkazuvchanlik zonasiga osongina o’tib, zaryad eltuvchilarning diffuziya oqimini xosil qiladi.
Sof yarim o’tkazgich germaniyga uch valentli indiy aralashmasi kiritilsin. 2.5 a-rasmda indiy aralashmasi mavjud bo’lgan germaniy kristall panjarasi ko’rsatilgan. Uch valentli indiy atomi to’rtta germaniy atomi bilan kovalent bog’lanishga kirishadi va uning bitta bog’i elektron bilan to’lmay qoladi. Tashqi maydon qo’shni atom elektronini shu to’lmay qolgan kovalent bog’lanishiga (elektron vakantsiyasiga) o’tishga majbur etadi, bo’shagan o’ringa esa o’z navbatida boshqa qo’shni atomning elektroni o’tadi va xokazo.
Indiy aralashmali yarim o’tkazgichda o’ziga xos elektronlarning navbatma-navbat xarakati vujudga keladi. Bunda elektron lar atomlardan uzoqlashib ketmaydi, doim ular bilan o’zaro bog’langan bo’ladi. Bog’langan elektronlarning bunday ketma – ket siljishini shartli ravishda, musbat zaryadga ega bo’lgan bo’sh kovalent bog’lanishga ega bo’lgan teshiklarning elektronlar tomon xarakati deb qarash mumkin. Teshiklar xarakati bilan yuzaga kelgan o’tkazuvchanlikni kovakli (teshikli) o’tkazuvchanlik, materialning o’zini esa r – turli yarimo’tkazgich deb ataladi» (r lotincha – Rozitiv – musbat so’zidan olingan). Yarimo’tkazgichlarda teshikli o’tkazuvchanlikni hosil qiluvchi aralashmalarga aktseptorlar deyiladi.
Aktseptor – aralashmali yarimo’tkazgichlarda taqiqlangan zonaning pastki qismida, valent elektronlar zonasi yaqinida, erkin energetik satxlar yuzaga keladi, ular aktseptor satxlari deb ataladi (2.5 b – rasm). Valent zonadan elektronlar aktseptorlar satxlariga osongina o’tib, unda erkin elektronlar vakantsiyasi – teshiklarni xosil qiladi. Shunday qilib, sof yarim o’tkazgichli materialga donorli (Aѕ) yoki aktseptorli (Jn) aralashmalar qo’shib, sunoiy ravishda elektron (n – turli) yoki teshikli (r – turli) o’tkazuvchanlikka ega bo’lgan yarimo’tkazgichlar olish mumkin. Bunday materiallardan quyidagi yarim o’tkazgichli asboblar tayyorlanadi: diodlar, tranzistorlar, tiristorlar va xokazo.

2.5 -rasm. Indiy aralashgan germaniyning ekvivalent zonasi (a) va energetik zona diagrammasi (b):1 – o’tkazuvchanlik zonasi, 2 – taqiqlangan zona, 4 – aktseptor satxi, 5 —elektron, 6 – teshik.
2.2. ELEKTRON TESHIKLO «N-P» – O’TISH
Juda ko’p yarimo’tkazgichli asboblarning ishlashi turli xil o’tkazuvchanlikka ega bo’lgan, yarim o’tkazgich kristallarida suniy yo’l bilan hosil qilingan, ikkita qo’shni soxa chegarasida yuz beradigan jarayonlar bilan bog’liqdir. Bu chegaraviy qatlamlar elektron teshikli yoki «n-r» o’tish deb aytiladi.
Yuqorida aytib o’tilganidek (2.6 a-rasmga qarang), kristallarning elektron «n» – turli o’tkazuvchanlik soxasidagi asosiy elektr zaryad eltuvchilari erkin elektronlar xisoblanadi. Aralashma atomlariga esa fiksasiyalangan (aniq belgilangan) musbat zaryadlar (donor aralashma ionlari) to’g’ri keladi. Teshikli «r» turli o’tkazuvchanlik soxasidagi asosiy zaryad eltuvchilar bo’lib kovaklar (teshiklar) xisoblanadi, aralashma atomlarida esa fiksasiyalangan manfiy zaryadlar (aktseptorlar aralashma ionlari) to’g’ri keladi.
Turli xil o’tkazuvchanlikka ega bo’lgan kristallarni bir – biriga birlashtirilmasa, zaryad tashuvchilar ularning butun xajmi bo’yicha teng taqsimlanadi. Agar sun’iy ravishda «n – r» o’tishni eritish, diffuziya yoki o’stirish usuli bilan xosil qilinib, kristallar birlashtirilsa, chegara qatlamida elektron va teshiklarning rekombinasiyasi yuz beradi. «n» -tur yarim o’tkazgichning o’tkazuvchanlik zonasidagi erkin elektron, «r» tur yarim o’tkazgichning valent zonasidagi erkin kovaklar satxlarini egallaydi. Buning natijasida ikki kristall Birlashgan chegaraviy zona yaqinida zaryad eltuvchilar yo’qoladi va yuqori elektr qarshiligiga ega bo’lgan qatlam xosil bo’ladi. Bu siyraklashgan berkituvchi qatlam yokisi «n -r» o’tish deb aytiladi. Uning qalinligi bir necha mikrondan ortmaydi. Berkituvchi qatlamning kengayishiga xarakatsiz donor va aktseptor ionlari qarshilik ko’rsatadi. Ular kristallar chegarasida kontakt potentsiallar farqini – potentsial to’siqni vujudga keltiradi. Xosil bo’lgan elektr maydon (eo) kuch chiziqlarini yo’nalishi «n» – soxadan «r» soxa tomon bo’ladi va u elektron hamda teshiklarni xarakatlanishiga to’sqinlik qiladi, ya’ni qarshilik ko’rsatadi. Bu maydon ta’sirida «n-r» o’tishning qarshiligi ortadi. (2.6-v-rasmda) «n – r» o’tishli yarim o’tkazgich qatlamlariga mos keluvchi elektrostatik potentsial (e) ning taqsimlanishi ko’rsatilgan. Agar ana shunday yarim o’tkazgichga tashqi manba (GB) dan «r» – tur kristallga «musbat» va r-tur kristallga «manfiy» kuchlanish berilsa (2.7 a-rasm) berkituvchi qatlam yanada kengayadi, chunki kontakt zonalardan xam musbat («r» – zona ichiga), xam manfiy («n» – zona ichiga) tashuvchilarning (elektron va teshiklar) «so’rilishi» yuz beradi. Demak, tashqi manba qutblari 2.7 a – rasmda ko’rsatilgandek bo’lsa, «n – r» o’tishning qarshiligi ortib ketadi va undan oqib o’tayotgan tok miqdori oz bo’ladi. Manbaning bunday ulanishi teskari ulash deyiladi.

2.6 – rasm. n – r – o’tishning xosil bo’lishi: a – kristallarning bir – biriga tegishigacha bo’lgan tarkibi
b – berkituvchi qatlamlarning hosil bo’lishi, v – yarim o’tkazgich chegarasidagi kontakt potentsiallar farqi.
Agar tashqi manbani yarim o’tkazgichga, yuqorida ko’rsatilganga nisbatan, teskari qutbli qilib ulansa (manfiy qutb «n» – turli kristallga va musbat qutb «r» – turli kristallga), tashqi elektr maydonning (E2) kuch chiziqlari yo’nalishi berkituvchi qatlam elektr maydoni (E1) kuch chiziqlariga qarama – qarshi yo’nalishda bo’lib qoladi (2.7. b-rasm). Bunda «n-r» – o’tish elektr maydonining tormozlash ta’siri maolum darajada kompensasiyalanadi va undan ancha katta to’g’ri tok oqib o’tadi, chunki berkituvchi qatlam torayadi. Tokning bunday yo’nalishi to’g’ri ulash deyiladi (2.7.v, g-rasm). Yaxshi yarim – o’tkazgichlardagi qarshilik to’g’ri va teskari ulanishlarda kamida o’n martao’zgaradi. «r – n» o’tishning ventil (bir tomonlama o’tkazish) xususiyatidan yarim o’tkazgichli asboblar diod, tranzistor, tiristorlar va x.z. lar yasashda keng foydalaniladi.

2.7 – rasm. Yarimo’tkazgichlardagi to’g’ri va teskari yo’nalishlarning xosil bo’lishi: a – teskari yo’nalish, b – potentsiallar farqining n-r-zona kengaygandagi o’zgarish taksimoti v – to’g’ri yo’nalish, g – kontakt potentsiallar farqining n-r zona toraygandagi o’zgarish taksimoti.
2.3. YARIM O’TKAZGICHLI DIODLAR UMUMIY TUSHUNCHALAR
Klassifikasiyasi va belgilanish sistemalari. yarim o’tkazgichli diodilarning tuzilishi va kattaliklari.
Yarim o’tkazgichli diod deb, mavjud texnologik usullaridan biri qo’llanilib «n-r» – o’tish xosil qilingan yarim o’tkazgich kristalliga aytiladi.
2.8-rasmda «r-n» – o’tish ega bo’lgan yarim o’tkazgichli diodning volt-amper tavsifnomasi (vat) keltirilgan.
Diodning vat juda ko’p faktorlarga bog’liq. Masalan: tashqi ta’sir, kontakt soxasining geometrik o’lchamlariga, tok toshuvchilar miqdoriga, teskari kuchlanish kattaligiga va x.k.
Amaliy jixatdan bu faktorlarni teskari tokka bo’lgan ta’siri katta. Masalan, muxit xaroratining ko’tarilishi yoki teskari kuchlanishning biror qiymatgacha oshirilishi teskari tokning birdaniga ko’payib ketishi natijasida r-n o’tishning buzilishiga (kuyishiga) sabab bo’ladi.
Umuman olganda r-n – o’tishning buzilishi turlari xilma-xil bo’ladi.
Shulardan issiqlik va elektr buzilishini ko’raylik.
Issiqlik buzilishi solishtirma qarshiligi etarlicha katta va r-n o’tish soxasi keng bo’lgan yarim o’tkazgichlarda kuzatiladi. Yarim o’tkazgichning qizishi bilan kristall panjaraning issiqlik xarorati ortadi va ko’plab elektronlar valent bog’lanishlarini uzib erkin elektronga aylanadi. Natijada kristallning xususiy o’tkazuvchanligi ortadi. Bunda yarim o’tkazgichning qizishi faqat tashqi muxit xaroratining ortishi bilan belgilanmaydi. r-n o’tishdan o’tadigan tok ham uning qizishiga olib keladi. Agar r-n o’tishda ajraladigan issiqlikni yo’qotish chorasi ko’rilmasa, issiqlik buzilishi maydon kuchlanganligining kichik qiymatlarida xam sodir bo’lishi mumkin. Elektr buzilishi asosiy bo’lmagan tok tashuvchilar sonining yarimo’tkazgich xajmidagi elektr maydon kuchlaganligi ortishi tufayli sodir bo’ladi. Bunda maydon kuchlanganligi ortishi bilan tok tashuvchilarning xarakat tezligi ortadi. Natijada urilish tufayli ionlashishning kuchkisimon ko’payishi vujudga keladi. U r-n o’tishning buzilishiga olib keladi. Ikkinchi tomondan, maydon kuchlanganligining ortishi avtoelektron emissiya xodisasiga xam sabab bo’ladi. Buning natijasida xam buzilish sodir bo’ladi. Keng r-n o’tishda diodlarda urilish ionlanishi tufayli, tor r-n o’tishli diodlarda esa, avtoelektron emissiya tufayli buzilishi sodir bo’ladi. elektr buzilishining issiqlik buzilishidan farqi shundaki, unda keng r-n o’tishda diodlarda urilish ionlanishi tufayli, tor r-n o’tishli diodlarda esa, avtoelektron emissiya tufayli buzilishi sodir bo’ladi. Elektr buzilishining issiqlik buzilishidan farqi shundaki, unda kuchlanish o’zgarishining biror oralig’ida teskari tok kuchlanishiga bog’liq bo’lmay qoladi va jarayon qaytar bo’ladi, ya’ni maydon kuchlanganligi yo’qolishi bilan boshlang’ich xolat tiklanadi.
2.9-rasmda yarim o’tkazgichli diodning to’liq volrt-amper tavsifnomasi ko’rsatilgan.

2.9 – rasm. Yarim o’tkazgich diodning to’liq volt-amper tavsifnomasi.
Unda 1-chiziq issiqlik buzilish, 2-chiziq esa elektr buzilishini ko’rsatadi. Kontakt soxasining kengiligiga qarab yarim o’tkazgichli diodlar nuqtaviy va yassi diodlarga ajratiladi. Biz tanishgan diodlar yassi diodlardir. Ulardan to’g’ri tokning kattaligi kontakt yuzasi kengligiga bog’liq bo’lib, qiymati bir necha milliamperdan bir necha yuz ampergacha etadi.
Nuqtaviy diodlarning kontakt yuzasi juda kichik bo’ladi. Ular nuqta kontaktli payvandlash yo’li bilan xosil qilinadi. Nuqtaviy diodlarning yassi diodlardan afzalligi shundaki, ularning r-n o’tish sig’imi juda kichik bo’ladi. Shuning uchun ularni yuqori chastotali qurilmalarda ishlatish mumkin.
Xozirgi paytda infraqizil, ulrtrabinafsha va ko’rinuvchi nurlar spektorini sezuvchi optoelektron diodlar katta qiziqish uyg’otmoqda.
2.10 – rasmda diodlarning sxemadagi shartli belgilanishi keltirilgan.

2.10 – rasm. Yarim o’tkazgich diodlarining sxemadagi shartli belgilanishi.
1 – diod, 2 – tunnelli diodi, 3 – stabilitron, 4 – Varikap.
GOST 10862—72 ga muvofiq, diodlar quyidagicha markalanadi. Birinchi element xarf yoki raqam bo’lib foydalanilgan yarim o’tkazgich materialni bildiradi. G yoki I – germaniy; K yoki 2 – kremniy; A yoki 3 – galliy arsenid. Ikkinchi element (xarf) diodlarning klassini ko’rsatadi.
Ts – to’g’rilagich ustunchalari; S – stabilitronlar; V – Varikaplar;
I – tunnelli diod; A – yorug’lik diodlari; od – optronlar va xokazo.
Uchinchi element (son) diodning xususiyatini aniqlaydi. To’rtinchi va beshinchi elementlar (sonlar) diodlarning texnologik ishlab chiqarish tartibini (0,1 dan 99 gacha) belgilaydi. Oltinchi element (xarf) diodning parametrik gruppasini aniqlaydi (parametrlar maxlumotnomalardan olinadi). Masalan: «g D 10 7 A» quyidagicha tushuntiriladi: germaniy kristallidan tayyorlangan (g) yarim – o’tkazgichli nuqtaviy (D), kichik quvvatli (I), 7 ishlab chiqarishda (07), «A» gruppa (to’g’ri tok 0,02 A, to’g’ri kuchlanish IB, teskari tok 0,02 teskari kuchlanish I5B) ga xos diod.
«3 0 D I 0 I A» – arsenid galliy yarim o’tkazgichli materialidan tayyorlangan optron juftli diod, birinchi ishlab chiqarilishi, parametrik gruppasi «A» (o’tkazish koeffisienti I%, kirish kuchlanishi – 1,5 V) va x.z.
TO’G'RILAGICH DIODLARI VA USTUNCHALAR
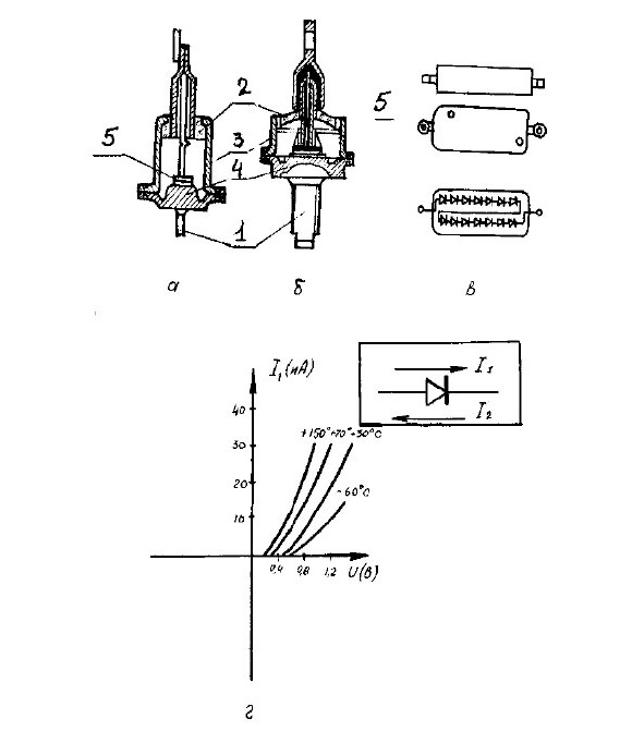
Turli to’g’rilagich sxemalarida yassi yuzali diodlar ishlatiladi. Buning uchun qotishma yoki diffuzion texnologiya usuli bilan olingan yassi yuzali kremniy diodlari, to’g’rilagich ustunchalari keng ishlatiladi. Diodlar xammasi katta yuzali «r – n» o’tishga ega bo’lib, to’g’ri yo’nalishda katta (50A gacha bo’lgan) toklarni o’tkazish xususiyatiga ega. To’g’rilagich ustunchalari ketma – ket ulangan bir xil turli diodlardan iborat bo’lib, plastmassa korpusga joylashtiriladi. Ustunchalar katta (15000B gacha) teskari kuchlanishga mo’ljallangan bo’lib, elektron asboblarning yuqori kuchlanishli bloklarida keng qo’llaniladi. 2.11-rasmda kremniy asosli yassi yuzali to’g’rilagich diodlari va ustunchalarining (V) tuzilishi, volt – amper tavsifnomasi (vat) oilasining xaroratga bog’likligi ko’rsatilgan. Bunday diodlarning asosiy parametrlari bo’lib quyidagilar xisoblanadi:
1. Maksimal ruxsat etilgan to’g’ri tok. I Max (A);
2. To’g’ri kuchlanish U tug (V);
3. Berilgan teskari kuchlanishdagi teskari tok. I tek, (mkA);
4. Ruxsat etilgan maksimal teskari kuchlanish. U teks (V);
5. Ishchi diapazon xarorati T, (0K).
Stabilitronlar – diodlarga elektr buzilishlarining qaytar bo’lishi katta amaliy axamiyatga ega. Chunki bunda teskari tokning biror kichik qiymatdan boshlab dioddagi potentsial tushuvchi tokka bog’liq bo’lmay qoladi. Yarim o’tkazgichli diodning bu xususiyatidan kuchlanishni stabilizasiyalovchi element sifatida ishlatish imkonini beradi. Bunday yarim o’tkazgichli diodlar stabilitronlar deb ataladi.

2.11— rasm. To’g’rilagich diodlar va ustunchalar: a – kavsharlangan kam quvvatli kremniyli diod: 1 – chiqiq, 2 – shisha izolyator, 3 – korpus, 4 – kristall tutqich, 5 – alyuminiy sim, 6 – kristall, 7 – kavshar; b – quvvatli to’g’rilagich diodi: 1 – chiqiqlar, 5 – kovshar, 6 – kristall tutqich; v – to’g’rilagich. ustuncha, g-kremniy yassi to’g’rilagich diodlarining ish xararoti bo’yicha vatsi.
Stabilitron kuchsimon yorib o’tish xodisasiga asoslanib ishlaydi. Stabilitron qo’yilgan teskari yo’nalishdagi kuchlanish orttirib borilsa, dioddan o’tadigan teskari tok miqdori juda kichik bo’lganligidan, sxemaning chiqishida kuchlanish xam ortib boradi. Kuchlanish miqdori kuchsimon yorib o’tish miqdroriga yotganda dioddan o’tayotgan tok keskin ortib ketadi. Chiqish kuchlanishi esa bir oz kamayadi.
Kirish kuchlanishning bundan keyingi ortishi stabilitron orqali o’tuvchi tokni oshirishga sarflanadi va chiqish kuchlanishi deyarli o’zgarmaydi. Bu oraliqqa to’g’ri kelgan chiqish kuchlanishi, stabilitronning stabilizasiyalash kuchlanish deb ataladi.
Stabilitronlar stabilizasiyalashtirish va impulslarni amplituda qiymati bo’yicha cheklash uchun mo’ljallangan. Bulardan tashqari, ularni berilgan kuchlanishning tayanch manbalari sifatida xam ishlatish mumkin.
Stabilitronning tuzilishi va uning vat lari 2.12 – rasmda ko’rsatilgan. Stabilitron diod uchun asosiy material sifatida aktseptor aralashmali alyuminiy eritib kiritilgan «n» – turli kremniy plastinkasi olinadi. «R-n» – o’tishli kristallni germetik berk metall ekran ichiga joylashtiriladi. Vat-ning teskari toklar soxasiga to’g’ri kelgan qismi toklar o’qiga parallel bo’lgan tik to’g’ri chiziq, ko’rinishida bo’ladi. Demak, tok keng chegaralarda o’zgarganda xam, stabilitron kuchlanishi deyarli, o’zgarmaydi. Stabilitronlar ketma – ket ulanganda, umumiy kuchlanish ayrim stabilitronlar kuchlanishlarining algebraik yig’indisiga teng.

Stabilitronning parametrlari quyidagilar:
1. Stabilizasiya kuchlanishi – ust
2.Kuchlanishning stabilizasiya koeffisienti:

3. Differentsial qarshiligi – Rdif.
4.Stabilitronniing maksimal (I mox) va minimal (I min) toklari
5. Maksmisal sochilish kuvvati – Rmax
Ryu – yuklama karshiligi stablitronga parallel ulangani uchun stabilizasiya rejimida stabilitron va yuklamada kuchlanish bir xilda buladi.
Ayrim xolda stabilitron xosil bulgan kuchlanishdan kichikrok bulgan stabilizisiyalangan kuchlanish olish kerak buladi. Buning uchun yuklamaga kushimcha ketma-ket rezistor ulanadi. U Om konuniga asosan topiladi.
Varikaplar – yarim o’tkazgichli diod bo’lib, sig’imi teskari yo’nalishidagi kuchlanishga bog’liq bo’ladi. Teskari kuchlanishning ortishi bilan r-n o’tish sig’imining kamayishi quyidagicha:
Конец ознакомительного фрагмента.
Текст предоставлен ООО «ЛитРес».
Прочитайте эту книгу целиком, купив полную легальную версию на ЛитРес.
Безопасно оплатить книгу можно банковской картой Visa, MasterCard, Maestro, со счета мобильного телефона, с платежного терминала, в салоне МТС или Связной, через PayPal, WebMoney, Яндекс.Деньги, QIWI Кошелек, бонусными картами или другим удобным Вам способом.
